Ереван
Аршакуняц 210\1 салон 21
+37477476108, +374 93 356625
aquapool66@mail.ru, liova.grigoryan@mail.ru
Тех. поддержка
+374 99476108BR>aquapool66@mail.ru
What sapp +374 77475379
Skyap pogosyan1001
Система туманообразования и увлажнения воздуха
Оборудование для фонтанов✓ и прудов✓
Химия для бассейнов Маркопул ✓
Оборудование для бассейнов Dinotec
Оборудование для бассейнов ASTRAL
Сборно разборные бассейны Summer✓ и Azuro✓
Оборудование для Бассейнов ESPA
Дозирующие Оборудование ETATRON D S ✓
Оборудование озонирование воды и воздуха
Оборудование Бассейнов FIBERPOOL Glong и Pool King
Оборудование Общественных Спортивных Бассейнов ✓
Оборудование для бассейнов Маркопул
Оборудование для физиотерапии и реабилитации Гидротерапия
MAPEI КТТРОН Гидроизоляция и защиты бетонна, затирка и клей
Оборудование для Wellness и SPA центров
Хронометраж для спорта, судейские системы, таймеры, табло, видео-экраны.
Оборудование для саун Harvia Харвия
Теплообменник 126кВт Max Dapra D-KWT-AISI 105 корпус пластик гофр. спираль н/с (100804)
Теплообменник 91кВт Max Dapra D-KWT-AISI 85 корпус пластик гофр.спираль н/с (100803)
Теплообменник 84кВт Max Dapra D-TWT 65 корпус титан спираль титан (100137)
Теплообменник 84кВт Max Dapra D-HWT 65 корпус н/с спираль н/с AISI 316 (100102)
Теплообменник 63кВт Max Dapra D-HWT 54 корпус н/с спираль н/с AISI 316 (100121)
Теплообменник 46кВт Max Dapra D-KWT-AISI 45 корпус пластик гофр.спираль н/с (100802)
Теплообменник 42кВт Max Dapra D-HWT 35 корпус н/с спираль н/с AISI 316 (100101)
Теплообменник 28кВт Max Dapra D-HWT 24 корпус н/с спираль н/с AISI 316 (100125)
Теплообменник 25кВт Max Dapra D-KWT-AISI 25 корпус пластик гофр.спираль н/с (100801)
Теплообменник 14кВт Max Dapra D-HWT 12 корпус н/с спираль н/с AISI 316 (100119)
Вентиль Gemas 6-позиционный боковой 2 1/2" (022130001)
Вентиль Gemas 6-позиционный боковой 1 1/ 2" (02400T)
Стойки указателей фальстарта Gemas H=1,8м D=42мм (2шт.) AISI 304 +шнур+поплавки (басс. 25м) (14322)
Стойки указателей поворота Gemas H=1,8м D=42мм (2шт.) AISI 304 +шнур+флажки (басс. 25м) (14312)
Стойка крепления разделительных дорожек Gemas AISI 304 (14620)
Стартовая тумба Gemas H=700мм AISI 304 (14121)
Стартовая тумба Gemas H=700мм AISI 304 (14111)
Разделитель дорожек Gemas МОСКВА 50м (14532)
Разделитель дорожек Gemas МОСКВА 25м Gemas (14531)
Горизонтальное анкерное крепление Арт.: 40566
Предлагаемое нами оборудование для саун позволяет расслабится, вдохнуть аромат сауны и ощутить неповторимую атмосферу тепла. Элегантный дизайн, современные технологии и высококачественные материалы в лучших традициях делают отдых в сауне приятным и комфортным. Мы поставляем Оборудование для саун и бань от ведущих мировых производителей: Harvia, TYLO, Helo. Освещение для бассейнов и саун, ароматизаторы и аксессуары. Для городских условий: Инфракрасные сауны, Парогенераторы, компактные сауны.
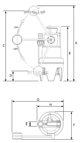
Погружные одноступенчатые насосы c вертикальным нагнетательным патрубком Vigilex 600M A
Перекачивание загрязненной воды c
содержанием волокнистых включений.
Использование стационарное и переносное.
Центробежно-вихревое рабочее колесо:
позволяющее работать насосу без опасности
засорения.
Полное или частичное погружение в воду.
Технические данные |
Vigilex 300 |
Vigilex 600 |
Подача, max |
12 м3/час |
15 м3/час |
Напор, max |
6 м |
8 м |
Потребляемая мощность, Р1 |
0,7 кВт |
0,8 кВт |
Напряжение в сети / частота |
1~230-240В / 50Гц |
|
Номинальные обороты двигателя |
2900 об/мин |
|
Степень защиты / класс изоляции |
IP 68 / F |
|
Встроенная тепловая защита |
в однофазном исполнении |
|
Режим работы мотора |
S1 |
|
Охлаждение мотора |
внутреннее за счет перекачиваемой жидкости и масла, которым заполнен мотор |
|
Температура перекачиваемой жидкости |
35°С |
|
Глубина погружения, max |
4 м |
|
Твердые частицы, max |
24 мм |
|
Длина кабеля |
10 м с вилкой |
|
Поплавковый выключатель |
маркировка МА |
|
Маслозаполненная камера |
есть |
|
Материалы |
|
|
Корпуса насоса |
армированный полипропилен |
|
Корпус мотора |
нерж. сталь |
|
Всасывающий фильтр |
армированный полипропилен |
|
Рабочее колесо |
армированный Noryl |
|
Вал |
нерж. сталь |
|
Тип уплотнения вала, материалы |
двойное торцевое в маслонаполненной камере,
графит / алюминий. |
|
Комплектация |
съемный штуцерс накидной гайкой для ния шланга подсоедине |
|

230 V |
l/min |
25 |
50 |
75 |
100 |
125 |
150 |
190 |
240 |
m3/h |
1.5 |
3.0 |
4.5 |
6.0 |
7.5 |
9 |
11.4 |
14.4 |
|
Vigilex 300M |
|
5.7 |
5.2 |
4.6 |
3.8 |
3.2 |
2.3 |
1.0 |
- |
Vigilex 600M |
|
7.5 |
7.0 |
6.3 |
5.6 |
5 |
4.3 |
3.0 |
1 |
230 V |
230/400V |
A |
Pl(kW) |
kW |
HP |
µF |
|||
1~ |
3~ |
3~ |
|||||||
1~ |
3~ |
||||||||
Vigilex 300M |
|
3 |
- | - |
0.7 |
- |
0.5 |
0.67 |
10 |
Vigilex 600M |
|
3.4 |
- | - |
0.8 |
- |
0.6 |
0.8 |
10 |

|
A |
В |
С |
D |
E |
F |
G |
H |
Kg |
Vigilex 300M |
574 |
416 |
535 |
76 |
30 |
213.5 |
391 |
201 |
6.7 |
Vigilex 600M |
574 |
416 |
535 |
76 |
30 |
213.5 |
391 |
201 |
7.1 |

Компания ESPA GROUP ? Bombas Electricas, S.A. является одной из ведущих в мире по производству насосов, в разработке и изготовлении которых используются самые последние достижения науки и техники. Компания была основана в 1962 году, головной офис расположен в г.Баньолис (Испания). Продукция ESPA GROUP широко представлена на международном рынке и экспортируется более чем в 130 стран мира.
У нас Вы можете заказать Погружные одноступенчатые насосы c вертикальным нагнетательным патрубком Vigilex 600M A Для этого Вы можете воспользоваться формой электронного заказа на сайте, либо связаться с нашими сотрудниками тел. +374 77476108, +374 93 356625, +374 098 073235
Наш сайт представляет Вам возможность сделать Заказ на расчет сметы для вашего бассейна фонтана и саун!
тел +7 702 640 8142, +7 701 952 0952
pogosan100@yandex.ru aquapool-astana.kz Проектирование Оборудование для фонтанов https://fontankz.kz
Оборудование для бассейнов | Сборные бассейны Azuro | Оборудование для Саун | Harvia | Astral | Оборудование забора и подачи воды | Сборно-оазборные бассейны Astral | ESPA | Насосы Hayward | Насосы Speck | Оборудование для освещения | Водпады и водяные пушки | Противотоки |Пылесосы | Аэромассаж | Химия hth | Дозирующее оборудование Etatron | Hayward | CTX | helo | Аква-Аэробика | Скиммер | Фильтр | Плёнка для Бассейна ПВХ | Оборудование для саун и бань
Լողավազանների սարքավորումներ, շատրվանների Սարքավորում, Սարքավորում սաունաների համար, Քիմիկատներ լողավազանների համար, Չափող սարքավորումներ լողավազան Քիմիկատներ ավելացնելու համար, Սարքավորումներ Վելնես եւ Սպա կենտրոններ համար, սպա լողավազան ջակուզի, ինֆրակարմիր սաունաներ
ջրի ֆիլտրացում, լուսավորություն և պարագաներ · ջրի ֆիլտրացում,
լուսավորություն և պարագաներ · ջրի ֆիլտրացում, լուսավորություն և
պարագաներ · լողավազանի մաքրման ռոբոտներ · ջրամեկուսացում.

Корзина пуста
08.07.2018 Монтажа системы фильтрации Бассейна и дезинфекции Активным кислородом
13.05.2017 Ամառային քիմիկատների գներ, լողավազաններ
01.04.2017 СИСТЕМЫ ДОЗИРОВАНИЯ И КОНТРОЛЯ ДЛЯ ПЛАВАТЕЛЬНЫХ БАССЕЙНОВ eONE GUARD Новинки 2017 года
21.09.2016 Мобильная версия сайта для мобильных устройств "ideapad smartphone iphone"